Мы используем cookie для наилучшего представления нашего сайта. Подробнее об этом в Политике конфиденциальности.
Ок

Шахты

Ваш город:
Шахты (Ростовская область)?
Нет
Да
Каталог
Каталог Написать в WhatsApp
Мотоэкипировка

Привода задних колес КВАДРОЦИКЛА STELS ATV 500 PANDA GT1

Привода задних колес КВАДРОЦИКЛА STELS ATV 500 PANDA GT1 в Шахтах: актуальный каталог, цены, фото, описание. Купите привода задних колес квадроцикла stels atv 500 panda gt1 в кредит – оформите заявку онлайн за 1 минуту!

Оригинальные запчасти

Артикул НАИМЕНОВАНИЕ Кол-во деталей в узле Примечание Наличие Цена Аналоги Фото
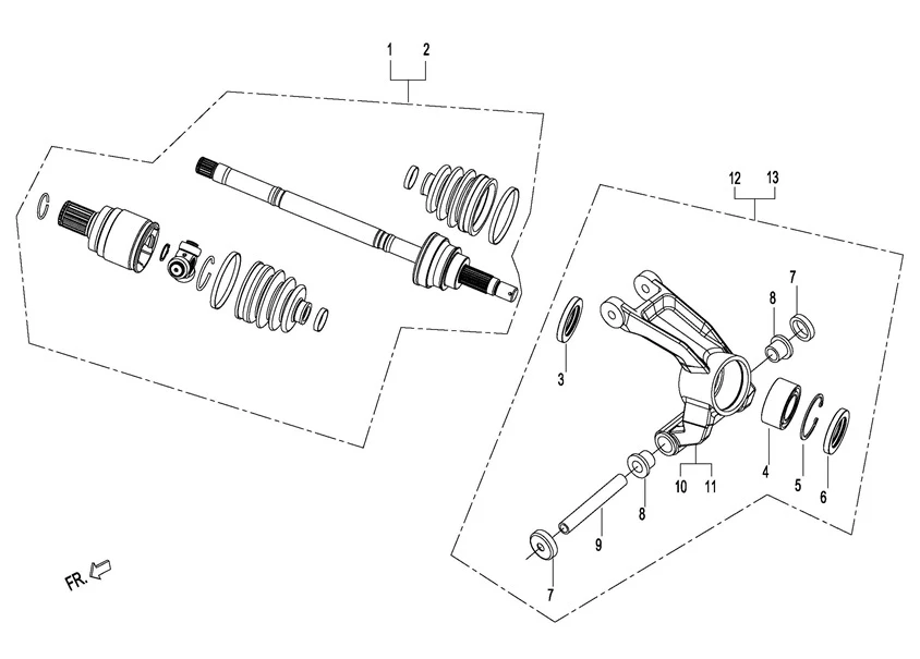
1 LU028366 Привод заднего колеса, левый, в сборе 27151-5010

Под заказ

1

Под заказ

10 090

18 240

Купить
2 LU031666 Привод заднего колеса, левый (27151-5011) 527мм, в сборе 27151-5011

Под заказ

1

Под заказ

10 640

14 480

Купить
3 LU028367 Привод заднего колеса, правый, в сборе 27161-5010

Под заказ

1

Под заказ

10 090

19 240

Купить
4 LU031667 Привод заднего колеса, правый (27161-5011) 510мм, в сборе 27161-5011

Под заказ

1

Под заказ

2 280

16 440

Купить
5 LU030706 Сальник 45х62х8мм 9911-456200

Под заказ

2

Под заказ

уточнить

Купить
6 LU030709 Подшипник двухрядный радиально-упорный 35×62×28мм GB/T 292 K35

Под заказ

2

Под заказ

уточнить

Купить
7 LU031680 Подшипник двухрядный радиально-упорный 35×62×40мм JB/T 10238-2001

Под заказ

1

Под заказ

уточнить

Купить
8 LU030708 Кольцо стопорное 62х2мм, сталь 9401-062-020, 30800-06200

Под заказ

2
F210289-00
F210289-00

Под заказ

170

680

Купить
9 LU030710 Втулка проставочная 10.5×16×112.5мм, сталь 9711-101130

Под заказ

2

Под заказ

уточнить

Купить
10 LU030711 Ступица заднего колеса, левая 64411-5010

Под заказ

1

Под заказ

уточнить

Купить
11 LU031668 Ступица заднего колеса, левая 64411-5011

Под заказ

1

Под заказ

уточнить

Купить
12 LU030712 Ступица заднего колеса, правая 64421-5010

Под заказ

1

Под заказ

уточнить

Купить
13 LU031669 Ступица заднего колеса, правая 64421-5011

Под заказ

1

Под заказ

уточнить

Купить
14 LU028368 Ступица заднего колеса, левая, в сборе 64401-5010

Под заказ

1

Под заказ

1 960

3 980

Купить
15 LU028369 Ступица заднего колеса, правая, в сборе 64402-5010

Под заказ

1

Под заказ

1 960

4 820

Купить

Нулевая цена не означает отсутствие товара. Оформите заказ, и менеджер сообщит вам цену и наличие товара, предварительно запросив их у поставщика

Главная Магазины
Корзина0
Профиль